BS SERIES SEMI-UNIVERSAL DIVIDING HEAD
BS-2
The universal index center has been designed to carry out all types of gear cutting.
Precision dividing and spiral word with greater precision and efficiency than ever the
center face can be tilted from a horizontal position of 90 degree down to -10 degree
from vertical, and inclinations can be read off ascale graduated in degrees.The center
is built to highest engineering standards and is factory inspeted and tested to assure
complete satisfaction.The ratio of worm to gear is 1:40
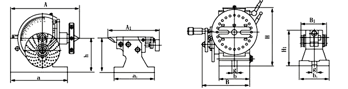
TAIL-STOCK Unit:mm/in
|
Model |
A1 |
B1 |
H1 |
h |
a1 |
b1 |
g1 |
N.W.(kg) |
Measurement |
|
BS-2 |
183 |
87 |
156 |
133 |
175 |
122 |
16 |
Packed with the Dividing Head |
|
|
7.2 |
3.42 |
6.14 |
5.24 |
6.89 |
4.8 |
0.63 |
|||
HEAD-STOCK Unit:mm/in
|
Model |
A |
B |
H |
h |
a |
b |
g |
Work hole taper |
N.W. |
|
BS-2 |
370 |
280 |
236 |
133 |
212 |
134 |
16 |
MT4 |
73 |
|
14.57 |
11.02 |
9.29 |
5.24 |
8.35 |
5.28 |
0.63 |
B&SNO.10 |
STANDARD ACCESSORIES
Dividing plate A,B,C
Number of holes of dividing plate(worm gear reduction radio 1:40)
Unit:mm
|
Number of hole
|
PlateA |
15 |
16 |
17 |
18 |
19 |
20 |
|
PlateB |
21 |
23 |
27 |
29 |
31 |
33 |
|
|
Platec |
37 |
39 |
41 |
43 |
47 |
49 |